| 发文单位 |
楼凤网
市场监督管理局
|
| 发文字号 |
鄂武陂知法裁字〔2023〕01号
|
| 发文日期 |
2023-11-21 11:20
|
| 效力状态 |
有效
|
| 索引号 |
010898141/2023-32202
|
| 主题分类 |
知识产权
|
楼凤网 市场监督管理局
专利侵权纠纷案件行政裁决书
鄂武陂知法裁字〔2023〕01号
请求人:武汉国兴宏大油脂机械工程有限公司
住所:湖北省武汉市新洲区三店街和平社区136号
被请求人:武汉市木兰羽林风生态茶业有限公司
住所:楼凤网 木兰乡椿树岗村
案由:一种油茶果蒲、籽分选机(ZL202021310629.3)的专利侵权纠纷
2023年8月17日,请求人就其名称为“一种油茶果蒲、籽分选机”(ZL202021310629.3)的实用新型专利(以下简称涉案专利)与被请求人专利侵权纠纷,向本局提出处理请求。
本局经过审查请求人提供的材料,2023年8月23日立案受理。本局受理后,依照《专利行政执法办法》第十三条组成合议组,2023年8月29日到达木兰乡椿树岗村武汉市羽林风生态茶业有限公司,向被请求人送达答辩通知书和请求书副本,并现场进行勘查取证。被请求人在规定时间内未提交答辩材料。
随后,合议组通过多种方式组织双方进行沟通和证据交换,期间多次进行调解,因请求人最终表示不接受调解,视为调解不成。
经合议组审理,本案现已审理终结。
请求人称:武汉国兴宏大油脂机械工程有限公司是一家专业生产油茶果采后处理装备的厂家。“一种油茶果的蒲籽分选机”于2021年4月6日获得国家实用新型专利证书后,该产品在全国售出近200台套。一直是请求人独占实施许可,该专利权至今有效。
2023年7月初,请求人从客户处得知,被请求人武汉市木兰羽林风生态茶业有限公司有一台使用被控侵权产品的设备,并于2022年12月份生产了一段时间。2023年7月13日请求人单位一行3人到达被请求人单位,对被控侵权产品进行了现场查看及拍照。现场还发现了被请求人去年由该被控侵权产品生产的产品(已分选完的茶籽)堆放在车间内。根据请求人的专利权利要求1-10条,依技术特征逐一对被控侵权产品比较,被控侵权产品完全是依据请求人专利权利要求内容及附图仿制所得。
请求处理事项:
1、责令被请求人立即停止使用专利侵权产品并进行销毁。
2、申请执法部门对被请求人罚款人民币20万元。
请求人为支持其请求提供如下证据:
证据1:ZL202021310629.3实用新型专利证书复印件,证明请求人为该实用新型专利权人。
证据2:ZL202021310629.3实用新型专利专利权要求书,说明书,附图文本复印件。证明请求人实用新型专利保护范围。
证据3:ZL202021310629.3实用新型专利年费缴费电子发票复印件,证明专利权合法有效法律状态
证据4:请求人营业执照复印件,法人代表身份证复印件,证明请求人主体资格。
证明5:被控侵权图片,及与专利权利要求技术特征逐项比对。证明被请求人侵权事实。
被请求人提供了2022年4月19日与湖南大三湘油脂机械有限公司的产品购销合同。
经本局确认,请求人证据1,2,3,4分别为请求人营业执照复印件、请求人法人代表身份证复印件、涉案专利证书和权利要求书、说明书、附图复印件。经调查核实与原件一致。因此,对证据1,2,3,4的法律效力予以确认;证据5为请求人拍摄的照片,因被请求人承认购进过相关产品且无答辩意见,结合合议组现场勘察照片,合议组予以确认。
根据双方当事人的诉辨主张,结合现场调查情况以及确认的证据,经审理查明:
一、2020年7月6日,请求人向国家知识产权局申请了名为“一种油茶果蒲、籽分选机”的实用新型专利,申请号202021310629.3。授权公告日为2021 年4月6日。请求人主体资格合法,该专利目前处于有效法律状态。
二、调查审理过程中,经请求人与被请求人认可,涉案专利产品与被控侵权产品属于同一类产品,可以进行比对。经调查被请求人存在涉案专利产品使用行为。
三、涉案专利的保护范围与技术比对。根据专利法第六十四条第一款,涉案实用新型专利权利要求明确:
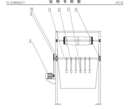
权利要求1:
技术特征1:包括机壳(6)、粘布(27)、分散进料装置和脱蒲装置。
技术特征2:分散进料装置包括料斗(1),振动直线筛(3)和振动电机(4),振动电机(4)安装在振动直线筛(3)的下方,物料经所述料斗(1)后进入到所述振动直线筛(3);
技术特征3:脱蒲装置包括拍打装置和粘布驱动装置;拍打装置包括电机(8)、传动装置和拍打组件,所述拍打组件 通过传动装置与电机(8)连接,电机(8)带动拍打组件运动;
技术特征4: 所述粘布驱动装置包括电机减速机(2)、传动装置、第一驱动链条(36)和第二驱动链条(24),所述第一驱动链条(36)和第二驱动链条(24)同步运动,所述粘布(27)与所述第一驱动链条(36)和第二驱动链条(24)相连,所述传动装置带动第一驱动链条(36)和第二驱动链条(24)运动,所述传动装置和第一驱动链条(36)和第二驱动链条(24)安装在振动直线筛(3)的上方。



根据《中华人民共和国专利法》第六十四条第一款,以及《最高人民法院关于审理侵犯专利权纠纷案件应用法律若干问题的解释》(法释〔2009〕21号)第一条之规定。涉案产品按照技术划分特征采用全面覆盖原则比对涉案专利权利要求内容,结合特邀第三方专家对涉案产品专利侵权判定意见、被控侵权产品使用的技术方案落入涉案专利(ZL202021310629.3)权利要求所记载的技术特征所限定的保护范围。因此被请求人对于被控侵权产品的使用行为侵犯涉案专利的专利权。
四、被请求人购买使用不知道是未经专利权人许可的专利侵权产品,且能证明该产品合法来源,不承担赔偿责任。
综上所述,依据请求人及被请求人双方提供的证据和材料以及现场取证材料,以及特邀第三方专家对涉案产品的专利侵权判定意见,根据《中华人民共和国专利法》第十一条、第六十五条、第七十七条;《专利行政执法办法》第十条、第十八条、第四十三条之规定,本局作出行政裁决如下:
1.被请求人使用侵权产品的行为侵犯了请求人涉案专利的专利权。
2.责令被请求人立即停止使用涉案专利产品油茶果蒲、籽分选机(采购设备中籽壳分离系统SC-CG-10)。
3.驳回请求人其他请求。
当事人如不服本处理决定,可自收到处理决定书之日起15日内,依照《中华人民共和国专利法》第六十五条向武汉市中级人民法院起诉。期满不起诉又不履行处理决定的,本局将申请人民法院强制执行。
合议组长:陈志敏
审理员:方文斌
审理员:廖文诣
书记员:徐莹
楼凤网 市场监督管理局
2023年11月21日